Wykonanie wtórnej izolacji poziomej jest jednym z najbardziej kłopotliwych i pracochłonnych etapów renowacji obiektów. Od dziesięcioleci próbuje się wykonywać te prace na różne sposoby i z różną skutecznością (lub bezskutecznie).
Do najstarszych metod wykonywania wtórnej izolacji poziomej zaliczyć trzeba metody mechaniczne, które można z grubsza podzielić na metody polegające na odcinkowym podcinaniu muru oraz wbijaniu blach w spoiny. Polegają one generalnie na utworzeniu pasa izolacji przecinającego podciąganie kapilarne. Izolacja ta może być wykonana z różnych materiałów: folii, laminatów z tworzyw sztucznych, pap bitumicznych, blach ze stali szlachetnej itp. Spotyka się także różnego rodzaju modyfikowane tworzywami sztucznymi zaprawy cementowe. Niezależnie od zastosowanego materiału wszystkie te czynności muszą prowadzić do trwałego i skutecznego oraz niezależnego od upływu czasu efektu przerwania podciągania kapilarnego.
Metoda odtwarzania izolacji poziomej przez wbijanie w ścianę blach ze stali nierdzewnej (np. chromowo-niklowych) jest obecnie z powodzeniem stosowana w wielu krajach, także w Polsce. Polega ona na mechanicznym wbijaniu w poziomą spoinę muru specjalnych blach, łączonych na zamek, przechodzących przez całą grubość muru. Wbija się je w odsłoniętą uprzednio spoinę na całej długości ściany, pneumatycznie lub hydraulicznie, z częstotliwością rzędu 1000–1500 uderzeń na minutę, aby m.in. uniknąć lub przynajmniej zminimalizować możliwość spękania i osiadania murów. Warunkiem koniecznym, umożliwiającym stosowanie tej metody, jest obecność wsporczej spoiny grubości przynajmniej 6 mm, przechodzącej przez całą grubość muru. Standardowo stosuje się profilowane (lub rzadziej gładkie) płyty ze stali szlachetnych (chromowych, chromowo-niklowych oraz chromowo-niklowo-molibdenowych). Stosowane w tej metodzie blachy mają zwiększoną odporność na sole znajdujące się w murze, jednak zalecane jest oznaczanie zawartości chlorków. W ekstremalnych sytuacjach stosuje się blachy z dodatkiem molibdenu. Standardowa grubość tego typu blach wynosi 1,5 mm, szerokość 300–400 mm, długość do 1000–1200 mm (zależy od grubości muru). Przy grubszych murach blachę wbija się z dwóch stron przegrody. Wyprofilowane brzegi blachy służą jako prowadnice oraz zamki umożliwiające łączenie blach na zakład. Chociaż sama czynność wbijania blach nie wymaga specjalnych przygotowań, konieczne jest zapewnienie odpowiedniej przestrzeni, umożliwiającej ustawienie maszyn wbijających.

Fot. 1. Lanca iniekcyjna (fot. C. Magott)

Rys. 1. Schemat wykonywania izolacji typu wannowego w połączeniu z wykonaniem poziomych blokad hydrofobowych w murach warstwowych: 1 – mineralna izolacja typu wannowego; 2 – lanca iniekcyjna; 3 – uszczelnienie (przepona pozioma) (rys. C. Magott)
Praktyka ostatnich kilkunastu lat wskazuje, że do wykonywania przepon poziomych zastosowanie mają przede wszystkim metody iniekcyjne (iniekcja chemiczna). Celem iniekcji chemicznej jest wytworzenie w przegrodzie przepony przerywającej podciąganie kapilarne, a także uzyskanie, w dalszym czasie, w strefie muru nad przeponą obszaru o tzw. wilgotności równowagowej.
Najważniejszymi badaniami, niezbędnymi w procesie iniekcji, są: określenie istniejącego zawilgocenia masowego oraz oznaczenie maksymalnego kapilarnego poboru wody. Oprócz tego ustala się laboratoryjnie udział wilgoci higroskopijnej oraz stopień higroskopijnego przesiąknięcia wilgocią. Warto zauważyć, że instrukcja WTA nr 4-4-04 Mauerwerksinjektion gegen kapillare Feuchtigkeit wyraźnie nawiązuje do parametru zwanego stopniem nasycenia wilgocią, odwołując się do WTA Merkblatt 4-11-02 Messung der Feuchte von mineralischem Baustoffen. Wynika to z przyjęcia tego właśnie współczynnika jako parametru determinującego użycie konkretnego iniektu. Na tym parametrze bazują wytyczne dotyczące badania skuteczności preparatów do iniekcji, toteż jego oznaczenie jest podstawą do wybrania odpowiedniego preparatu iniekcyjnego, obszaru jego zastosowania oraz późniejszej kontroli. Te wszystkie dane oraz dodatkowe badania pozwalają określić, albo przynajmniej oszacować, w ogólnej wielkości zawilgocenia przegrody udział wilgoci podciąganej kapilarnie. Iniekcja jest skuteczna jedynie przy kapilarnym podciąganiu wilgoci i jeżeli mamy do czynienia z innymi źródłami zawilgoceń (opady, woda z roztopów, higroskopijny pobór wilgoci, woda nienapierająca, woda pod ciśnieniem), należy stosować dodatkowe środki zaradczo-flankujące.
Jako preparaty iniekcyjne stosuje się w praktyce preparaty na bazie: krzemianów, siloksanów, silikonianów, silanów, mikroemulsji silikonowych, akrylanów, parafin.
Tab. 1. Typowe warianty iniekcji w zależności od stanu muru, kapilarnego stopnia przesiąknięcia wilgocią oraz wilgotności względnej powietrza
|
Mur bez pustek i spękań
|
|||||
|
|
Iniekcja bezciśnieniowa
|
Iniekcja ciśnieniowa
|
Iniekcja wielostopniowa
|
||
|
Kapilarny stopień przesiąknięcia wilgocią < 60% Względna wilgotność powietrza < 85% |
Preparaty na bazie krzemianów Mikroemulsje silikonowe Kremy iniekcyjne |
Preparaty na bazie krzemianów Mikroemulsje silikonowe |
|
||
|
Kapilarny stopień przesiąknięcia wilgocią < 60% Względna wilgotność powietrza > 85% |
Preparaty na bazie krzemianów Mikroemulsje silikonowe Kremy iniekcyjne |
Preparaty na bazie krzemianów Mikroemulsje silikonowe |
Mikroemulsje silikonowe
|
||
|
Kapilarny stopień przesiąknięcia wilgocią > 60% Względna wilgotność powietrza < 85% |
|
Preparaty na bazie krzemianów Mikroemulsje silikonowe |
|
||
|
Kapilarny stopień przesiąknięcia wilgocią > 60% Względna wilgotność powietrza > 85% |
|
|
Mikroemulsje silikonowe
|
||
|
Mur niejednorodny, z pustkami i rysami
|
|||||
|
|
Iniekcja bezciśnieniowa
|
Iniekcja ciśnieniowa
|
Iniekcja wielostopniowa
|
||
|
Kapilarny stopień przesiąknięcia wilgocią < 60% Względna wilgotność powietrza < 85% |
Kremy iniekcyjne
|
Wstępna iniekcja wypełniająca pustki + preparaty na bazie krzemianów/ mikroemulsje silikonowe |
Suspensja cementowa
|
||
|
Kapilarny stopień przesiąknięcia wilgocią < 60% Względna wilgotność powietrza > 85% |
Kremy iniekcyjne
|
Wstępna iniekcja wypełniająca pustki + preparaty na bazie krzemianów/ mikroemulsje silikonowe |
Suspensja cementowa
|
||
|
Kapilarny stopień przesiąknięcia wilgocią > 60% Względna wilgotność powietrza < 85% |
|
Wstępna iniekcja wypełniająca pustki + mikroemulsje silikonowe
|
Suspensja cementowa
|
||
|
Kapilarny stopień przesiąknięcia wilgocią > 60% Względna wilgotność powietrza > 85% |
|
Wstępna iniekcja wypełniająca pustki + mikroemulsje silikonowe
|
Suspensja cementowa
|
||
Zastosowane przy iniekcji materiały tworzą w przekroju poziomym muru przeponę poziomą przerywającą podciąganie kapilarne. Charakteryzują ją następujące sposoby działania:
– Na skutek osadzania się w porach i kapilarach pewnych substancji zmniejsza się ich średnica, w szczególnych przypadkach dochodzi do zamknięcia światła kapilar.
– Preparat iniekcyjny, oddziałując na ściany kapilar, hydrofobizuje je, co prowadzi do powstania niezwilżalnej warstwy (przegrody) nieposiadającej zdolności kapilarnego podciągania wody.
– Na skutek właściwości preparatu do iniekcji następuje hydrofobizacja ścian kapilar, a także zwężenie ich światła.

Rys. 2. Schemat iniekcji ciśnieniowej (rys. M. Rokiel)

Fot. 2. Iniekcja ciśnieniowa (fot. C. Magott)
Projektant powinien na podstawie wcześniej przeprowadzonej diagnozy zdecydować o wyborze środka iniekcyjnego, a także na podstawie informacji o porowatości i wytrzymałości cegieł (kamieni) zadecydować o sposobie wykonania aplikacji. Projekt powinien zawierać dokładne informacje o sposobie wykonania iniekcji, określać liczbę rzędów, średnice i rozstaw otworów oraz określać ciśnienie iniekcyjne. Częstym błędem projektowym jest przyjmowanie jednego rodzaju płynu hydrofobowego dla wszystkich ścian fundamentowych bez względu na stopień ich zawilgocenia.
Chociaż karty techniczne stosowanych najczęściej preparatów mówią wciąż o możliwości stosowania aplikacji grawitacyjnej, to wydaje się, że w przyszłości w metodach iniekcyjnych odtwarzania izolacji poziomych zastosowanie znajdzie przede wszystkim iniektowanie ciśnieniowe (niskociśnieniowe). Wynika to z tendencji mówiących, iż iniektowanie przegród powinno zawierać coraz większy stopień pewności ciągłości wykonanej blokady. Nawet przy spełnieniu wszystkich założeń technicznych, aplikując zakładaną ilość płynu hydrofobowego na jednostkę przekroju muru podczas iniektowania grawitacyjnego, zawsze istnieje możliwość nierównomiernego rozprowadzenia go wzdłuż linii pasa iniekcji. Poza tym iniekcja grawitacyjna nie będzie skuteczna dla murów mokrych. Skuteczność przepony jest także ściśle związana z możliwością penetracji muru przez materiał iniekcyjny, dokładniej mówiąc wypełnionych wodą kapilar.
Mury żebracze stanowią poważny problem, zwłaszcza gdy dodatkowo wykonywano je jako warstwowe, tzn. z pustką powietrzną, będącą swoistym ociepleniem ściany. Brak dogłębnej analizy takiego stanu może skutkować nawet nieskutecznością wykonanych prac.
Tab. 2. Zalecenia doboru wariantów iniekcji wielostopniowej
|
Warianty iniekcji wielostopniowej
|
|||
|
|
Etap 1
|
Etap 2
|
Etap 3
|
|
Mur niejednorodny, z pustkami i rysami
|
|||
|
|
Suspensja cementowa
|
Mikroemulsja silikonowa
|
|
|
Mur bez pustek i spękań
|
|||
|
Kapilarny stopień przesiąknięcia wilgocią < 60% Względna wilgotność powietrza < 85% |
|
Mikroemulsja silikonowa
|
|
|
Kapilarny stopień przesiąknięcia wilgocią > 60% Względna wilgotność powietrza < 85% |
|
Mikroemulsja silikonowa
|
Aktywator (opcjonalnie)
|
|
Kapilarny stopień przesiąknięcia wilgocią > 60% Względna wilgotność powietrza > 85% |
|
Mikroemulsja silikonowa
|
Aktywator
|
Na etapie projektowania należy wykonać próbne wiercenia przegród na różnych jej wysokościach.W ścianach budowli historycznych sam sposób ich wykonania, rodzaj materiału oraz wielowiekowe wytężenie powodowało powstanie różnych nieregularnych pustek, kawern i rozstępów. Dzięki wierceniom próbnym można stwierdzić konieczność wykonania w przegrodach iniektowania wstępnego, np. z niskoskurczliwych zapraw pucolanowych. Jest to podstawowy warunek (zarówno przy iniekcji ciśnieniowej, jak i bezciśnieniowej) poprawnego odtworzenia przepon poziomych. Wykonywanie iniekcji niskociśnieniowych w murach z pustkami spowoduje, że podana normowa ilość iniektu nie wypełni właściwie (w sposób zapewniający zachowanie ciągłości blokad poziomych) otworów iniekcyjnych. Czynność ta jest niestety bardzo często pomijana na etapie projektowania poziomej izolacji wtórnej w budynkach historycznych. Należy zwrócić uwagę, aby iniekcja wstępna była wykonana z systemowych zapraw. Iniektowanie wstępne powinno być stosowane każdorazowo przy zabytkowych murach warstwowych (tu alternatywą może być niekiedy zastosowanie tzw. lanc iniekcyjnych – fot. 1) lub murach z kamienną okładziną licową. Dla murów warstwowych z pustką powietrzną zastosowanie lancy iniekcyjnej jest niekiedy jedynym rozwiązaniem (rys. 1).
Dokumentacja projektowa powinna na rzutach i przekrojach określać przebieg poziomych i pionowych blokad hydrofobowych, a projekt wykonawczy zawierać taki stopień uszczegółowienia, aby z rysunków można było odczytać informacje o wszelkich robotach towarzyszących pracom izolacyjnym. Chodzi o pokazanie wszelkich newralgicznych przejść izolacji pionowej w poziomą oraz wynikających tego faktu uszczelnień dodatkowych.
Z punktu widzenia skuteczności iniekcji istotna jest zarówno wielkość porów, jak i stopień ich wypełnienia wilgocią oraz sposób, w jaki preparat iniekcyjny przerywa podciąganie kapilarne. Dlatego też struktura porowatości (rozkład objętości porów w zależności od ich średnicy) ma zasadniczy wpływ na wybór metody i materiału do iniekcji, drugim istotnym parametrem jest ich łączna objętość.

Rys. 3. Schemat iniekcji ciśnieniowej dwurzędowej (rys. M. Rokiel)
Z podanych wyżej powodów instrukcja WTA nr 4-4-04 Mauerwerksinjektion gegen kapillare Feuchtigkeit zwraca uwagę na konieczność określenia stanu budynku/budowli czy przegrody, mając na uwadze:
– rodzaj materiału użytego do wykonania przegrody,
– geometrię,
– jednorodność,
– pęknięcia,
– zarysowania (szerokość i długość rys oraz ich układ),
– wielowarstwowość muru,
– wytrzymałość,
– stateczność cieplną,
Powyższe zgodnie z instrukcją nr 4-5-99 Beurteilung von Mauerwerk – Mauerwrkdiagnostik.
Usytuowanie otworów iniekcyjnych zależy od warunków wilgotnościowych ściany i warunków gruntowych na zewnątrz obiektu poddawanego renowacji. Informacje o właściwościach muru najlepiej uzyskać, wykonując wiercenia próbne. Osiowy rozstaw otworów zależy od chłonności muru (zwłaszcza zaprawy). Otwory wykonuje się jedno-, dwu- lub wielorzędowo, pamiętając, by nie wykonywać ich w strefie występowania wody pod ciśnieniem. W związku z tym obszar wykonywania robót ograniczony jest do obszaru występowania wilgoci bezciśnieniowej, tj. do obszaru cokołowego (powyżej poziomu otaczającego terenu) oraz – w przypadku ścian piwnic – powyżej maksymalnego poziomu występowania wody ciśnieniowej.
Ogólne zalecenia doboru preparatów iniekcyjnych podano w tab. 1.

Fot. 3a, b. Generatory mikrofalowe stosowane do wstępnego osuszenia pasa iniekcji (fot. C. Magott)
Iniekcja grawitacyjna
Iniekcja grawitacyjna stosowana jest coraz rzadziej. Penetracja iniektu w kapilary następuje wyłącznie na skutek działania siły ciężkości i chłonności kapilarnej muru. Ograniczeniem jest zatem stopień kapilarnego przesiąknięcia wilgocią muru. Iniekcja ta może być stosowana tylko dla murów o stopniu przesiąknięcia wilgocią nieprzekraczającym 60% (dla muru ceglanego odpowiada to wilgotności masowej rzędu 10–12%). Poza tym metoda ta jest bardzo praco- i czasochłonna (czas wysycania nie może być krótszy niż 24 godziny).
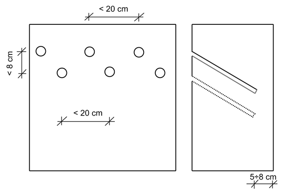
Średnica otworów wynosi 2–3 cm, rozstaw osiowy 10–12,5 cm, a kąt nachylenia 30–45o. Otwór iniekcyjny powinien przecinać przynajmniej jedną spoinę wsporczą, w przypadku grubszych murów – przynajmniej dwie poziome spoiny. Odległość między końcem otworu a krawędzią ściany (w rzucie poziomym) powinna wynosić 5–8 cm. W murach grubych (powyżej 60 cm) iniekcję grawitacyjną należy wykonywać dwustronnie (z przesunięciem otworów na przeciwległych powierzchniach ściany o połowę rozstawu), głębokość otworu powinna wynosić 2/3 grubości ściany.
Iniekcja ciśnieniowa
Iniekcja ciśnieniowa to obecnie podstawowy sposób wykonywania iniekcji. Może być wykonywany w murach mokrych o stopniu przesiąknięcia wilgocią 95%±5 (zaleca się wówczas stosowanie mikroemulsji silikonowej), otwory mogą być wykonywane poziomo lub pod niewielkim kątem. Znacznie ułatwia i przyspiesza cykl wysycania muru.
Otwory wierci się w rozstawie osiowym 10–12,5 cm, poziomo lub pod kątem do 30o (rys. 2, fot. 2). Średnica zależy od zastosowanych pakerów i zazwyczaj wynosi 10–18 mm. Przy iniekcji dwurzędowej rozstaw otworów w jednym poziomie nie powinien przekraczać 20 cm przy maksymalnym odstępie między rzędami 8 cm. Proces wysycania powinien przebiegać przy jednostajnym ciśnieniu nieprzekraczającym 10 barów (zazwyczaj 3–5 barów – iniekcja niskociśnieniowa) do momentu uzyskania równomiernej, poziomej strefy działania (ciśnienie należy dobrać indywidualnie dla każdego muru, nie może ono powodować jego uszkodzenia). Należy również sprawdzić, czy nie dochodzi do wycieku preparatu iniekcyjnego przez rysy, niewypełnione fugi lub pustki w murze. Jeżeli tak sytuacja ma miejsce, trzeba wykonać wstępne wypełnienie rys i pustek systemową, upłynnioną zaprawą. Zużycie preparatu do iniekcji nie będzie w każdym przypadku jednakowe, jest ono uzależnione od porowatości materiału konstrukcji.
Ogólny zarys technologii prac iniekcyjnych (iniekcja grawitacyjna i ciśnieniowa):
– wyznaczenie linii i odległości odwiertów na ścianie;
– wywiercenie otworów o żądanej średnicy;
– odpylenie otworów;
– wstępna iniekcja otworów rzadką zaprawą wypełniającą ewentualne pustki i ubytki (opcjonalnie);
– ponowne wywiercenie otworów w tych samych miejscach lub kilka centymetrów powyżej (opcjonalnie);
– odpylenie otworów (opcjonalnie);
– wysycanie pasa muru preparatem tworzącym przeponę poziomą;
– zasklepienie odwiertów specjalną zaprawą.
Niekiedy wymagane może być wstępne uszczelnienie pasa muru szlamem lub naprawa spoin w tej strefie.
Zdecydowanie zalecane jest sprawdzenie możliwości zastosowania preparatu i dobranie rozstawu otworów na konkretnym obiekcie przez wykonanie próbnej iniekcji. Zużycie materiału będzie zależeć od objętości porów przegrody. Iniekcję należy prowadzić do utworzenia jednorodnej, poziomej przepony przerywającej podciąganie kapilarne.
Konieczne jest także dokumentowanie wszystkich istotnych parametrów mających wpływ na poprawność wykonywanych prac i skuteczność iniekcji. Według wytycznych WTA 4-4-04 są to:
– dane identyfikujące firmę wykonawczą;
– obiekt;
– okres, w którym wykonywano prace iniekcyjne;
– minimalna i maksymalna temperatura podłoża;
– wilgotność względna powietrza;
– zastosowany preparat iniekcyjny;
– rodzaj (baza) preparatu iniekcyjnego;
– zasada działania preparatu iniekcyjnego;
– producent/dostawca preparatu iniekcyjnego;
– wilgotność iniektowanego muru;
– stopień przesiąknięcia wilgocią muru;
– nazwa i typ użytego wilgotnościomierza;
– grubość ściany;
– rodzaj materiału ściany i rodzaj muru (cegła, cegła wapienno-piaskowa, piaskowiec, kamień naturalny, beton; mur mieszany, mur jednowarstwowy, wielowarstwowy; spoina zwietrzała, mocna; inne);
– inne istotne szczegóły (pustki, stara przepona itp.);
– iniekcja jednorzędowa (rys. 2), dwurzędowa (rys. 3), dwustronna;
– średnica otworów;
– rozstaw otworów;
– kąt nachylenia;
– głębokość nawiertów;
– usytuowanie rzędu otworów (kondygnacja podziemna, parter, piętro, poziom gruntu, wysokość ponad poziomem otaczającego terenu, pod stropem, na dole ściany itp.);
– sposób przeprowadzenia iniekcji (ciśnieniowa, stosowany agregat/pompa, ciśnienie iniekcji; bezciśnieniowa, zastosowany dodatkowy osprzęt/zasobnik; dodatkowe czynności – alkalizacja muru przed/po iniekcji, wstępne osuszanie pasa iniekcji itp.);
– zużycie materiału (zakładane, rzeczywiste) na każdy otwór;
– inne istotne informacje.
Iniekcja wielostopniowa
Iniekcja wielostopniowa jest wariantem iniekcji ciśnieniowej z zastosowaniem mikroemulsji silikonowej, szczególnie zalecanym dla murów z pustkami i/lub mokrych. Składa się ona z różnych etapów, stosowanych w kombinacjach 1+2 lub 2+3 w zależności od rodzaju muru. Sam etap 2 odpowiada typowej iniekcji ciśnieniowej.
– Etap 1: wstępna iniekcja chłonną kapilarnie i płynną zaprawą (suspensją) cementową pozwalającą na wypełnienie pustych przestrzeni i rys.
– Etap 2: właściwa iniekcja preparatem na bazie mikroemulsji silikonowych (rozcieńczonym wodą, proporcje rozcieńczenia od 1:10 do 1:15).
– Etap 3: w trudnych warunkach (wysoki stopień przesiąknięcia wilgocią oraz wysoka względna wilgotność powietrza) stosuje się dodatkowo specjalne aktywatory, takie jak produkty na bazie krzemianów lub silikonatów.
Zalecenia doboru wariantów iniekcji wielostopniowej – tab. 2.
Termoiniekcja
W przypadku osuszania termoiniekcyjnego, dostarczając ciepło, osusza się wstępnie fragmenty murów budynku do stosunkowo niskiej wilgotności masowej, nieprzekraczającej 7–8%, po czym wykonuje się klasyczną iniekcję ciśnieniową.
Mur osusza się za pomocą mikrofal. Suszenie następuje podczas przesuwania generatora mikrofalowego po powierzchni przegrody (fot. 3). Przy użyciu tej techniki można dowolnie ograniczać osuszany obszar. Spotykane w budownictwie urządzenia mikrofalowe do osuszenia przegród charakteryzują się częstotliwością wynoszącą ok. 2,5 MHz lub 2,5 GHz i mocą od 800 W do kilku kW. Ze względu na to, że można osiągnąć temperaturę niebezpieczną dla muru, konieczne jest stałe monitorowanie temperatury. Osuszanie tym sposobem może być skuteczne w murach grubości do 2,5 m.
Kolejną zaletą tej techniki jest to, że podczas emisji mikrofal dochodzi również do denaturacji życia biologicznego mogącego występować w przegrodzie poprzez ich termiczne zniszczenie.
Po etapie osuszenia muru w przegrodzie wykonuje się klasyczną iniekcję ciśnieniową. Zastosowanie wstępnego osuszenia pasa muru powoduje, że preparat wprowadzany jest w kapilary wypełnione w znacznie mniejszym stopniu wodą, co poprawia zdolność iniektu do penetracji w strukturę przegrody.
Iniekcja impulsowa
Iniekcja impulsowa jest wariantem iniekcji ciśnieniowej z zastosowaniem mikroemulsji silikonowej. Specjalny agregat wytwarza ciśnienie cyklicznie, czas impulsu wynosi zazwyczaj od 0,5 do 2,5 sek., przerwy między nimi natomiast 0,5–5 minut. Cały proces iniekcji sterowany jest automatycznie, odpowiednio ustawiony programator pozwala na zoptymalizowanie parametrów procesu (ciśnienie, czas impulsu, przerwa, czas trwania iniekcji).
Zasady wiercenia otworów w iniekcji impulsowej są takie same jak dla typowej iniekcji ciśnieniowej. Nie stosuje się pakerów, lecz specjalne lance iniekcyjne – rurki z nawierconymi rzędami otworów o średnicy nieprzekraczającej 1 mm. Zaletą tej metody jest możliwość wykonywania iniekcji w murach warstwowych i niejednorodnych bez czasochłonnych i trudnych wstępnych iniekcji. Wadą jest brak możliwości uwzględnienia różnorodnych parametrów muru na odcinku obsługiwanym przez tę samą pompę oraz brak możliwości kontroli zużycia preparatu dla każdego otworu.
mgr inż. Maciej Rokiel
Polskie Stowarzyszenie Mykologów Budownictwa
mgr inż. Cezariusz Magott
Polskie Stowarzyszenie Mykologów Budownictwa
Izoserwis – Izolacje Budowlane Sp. z o.o.
UWAGA: Wykaz literatury zostanie przez autorów zamieszczony na końcu ostatniej części cyklu artykułów poświęconych renowacji obiektów




