Kłopoty sprawiają błędy związane z posadowieniem obiektów, często wynikające z posługiwania się przestarzałymi normami.
STRESZCZENIE
Kanalizacyjne studzienki rewizyjne i zbliżone konstrukcje są szczególnym elementem systemów infrastruktury liniowej. Decyduje o tym różnorodność rozwiązań konstrukcyjnych oraz warunków posadowienia. Bezpieczna praca wymaga dostosowania rozwiązania konstrukcyjnego do warunków posadowienia. Przedstawiono główne problemy związane z właściwym przyjęciem rozwiązania konstrukcyjnego.
ABSTRACT
Construction questions of the sewerage well inspection using Sewer inspection wells and similar constructions are a special feature of linear infastructure systems. This is determined by the variety of construction solutions as well as of foundation conditions too. Safe work requires adaptation of the construction solution to the foundation conditions. The main problems related to the proper adoption of the construction solution are presented.
Kanalizacyjna studzienka rewizyjna oraz obiekty o zbliżonej konstrukcji (w tym komory i zbiorniki różnego przeznaczenia) należą do szczególnych elementów infrastruktury liniowej.
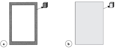
Ze względu na swoje gabaryty, w tym głębokość posadowienia, stykają się one z bardzo zróżnicowanym podłożem gruntowym. Wielorakość rozwiązań konstrukcyjnych skutkuje odpowiednio rozmaitą podatnością na oddziaływanie tego podłoża, w szczególności okresowo pęczniejącego pod wpływem zmian wilgotności. Równocześnie występują znaczne różnice między ciężarem materiału, z jakiego wykonana jest konstrukcja, a ciężarem efektywnym, przeliczonym na jednostkę kubatury brutto (rys. 1).

Rys. 1. Charakterystyczny jednostkowy ciężar wyrobu kubaturowego: a – ciężar gatunkowy materiału, b – ciężar efektywny – przeliczony na jednostkę kubatury brutto
Określenie warunków posadowienia
Błędy określenia warunków posadowienia stanowiły zawsze podstawową przyczynę awarii przy realizacji inwestycji liniowych. Wprawdzie formalne regulacje w zakresie dokumentacji podłoża wprowadzono już w 1998 r. skutkiem wejścia w życie nowej ustawy – Prawo budowlane [17], pozostawały jednak one w praktyce projektowania infrastruktury liniowej martwym przepisem, a sytuacja zmieniła się dopiero po dość późnym przystąpieniu Polski do CEN i wprowadzeniu eurokodów1. Konsekwencją stało się nowe rozporządzenie [15] jednoznacznie definiujące wymagania. Warto podkreślić, że zmiany w stosunku do pierwotnej regulacji nie są bardzo znaczące.
Obecne regulacje powinny wprowadzić nową jakość do projektowania, jednak zagadnieniem otwartym pozostaje, do jakiego stopnia będą one skuteczne. Biorąc pod uwagę dotychczasowe doświadczenia, powszechność występowania w Polsce gruntów ekspansywnych oraz dwuznaczność polskich regulacji prawnych [5], trudno być optymistą. Do bardzo problematycznych należy zapis, że kategorię geotechniczną całego obiektu lub jego poszczególnych części określa projektant obiektu budowlanego. Po stwierdzeniu innych niż w dokumentacji warunków geotechnicznych projektant obiektu budowlanego zmienia jego kategorię geotechniczną. W jakim stopniu przeciętny projektant projektu budowlanego (szczególnie w przypadku inwestycji liniowych) jest przygotowany do kwalifikowania podłoża, szczególnie gdy różni się ono od przyjętego w dokumentacji projektowej?2.
Oddzielnym problemem pozostaje możliwość postępowania w zakresie wymaganym przez eurokody, różniącym się zasadniczo od dotychczasowych polskich regulacji. Zmianom nie sprzyja dwuznaczność regulacji prawnych w zakresie norm – z jednej strony w konsekwencji przystąpienia do CEN status normy krajowej posiadają regulacje z wyróżnikiem EN, z drugiej nie wycofano jednoznacznie starych norm. Brak zgodności między tymi regulacjami może skutkować poważnymi różnicami w dokumentacji posadowienia obiektów.

Rys. 2. Kanalizacyjna studzienka z tworzyw: a – o jednolitej średnicy rury trzonowej (D1), b – o średnicy zredukowanej w wyniku wprowadzenia teleskopowego zwieńczenia (D2)
Problem studzienki z tworzyw sztucznych
Po 1990 r. studzienki z tworzyw sztucznych rozpowszechniły się w Polsce, przy czym dość często w dokumentacjach projektowych traktowane są one jako pojęcie jednoznaczne. W rzeczywistości są to obiekty o bardzo różnych, często unikatowych, właściwościach konstrukcji, o zasadniczo różnych wymaganiach co do warunków posadowienia. Wynikiem tego mogą być zróżnicowane cechy użytkowe. Jakimś paradoksem jest to, że o ile studzienka betonowa spełniająca wymagania normy [10] jest niezależnie od producenta obiektem o w pełni (lub co najmniej w dużym stopniu) porównywalnych właściwościach, o tyle w przypadku wyrobów z tworzyw sztucznych sytuacja jest całkowicie inna [12]. Przede wszystkim jednak samo pojęcie „tworzywo sztuczne” nie jest jednoznaczne – obok tworzyw termoplastycznych, gdzie w zasadzie (poza bardzo nielicznymi wyjątkami) oferta sprowadza się do zestawu katalogowego, występują tworzywa duroplastyczne (obecnie GRP), w przypadku których możliwe są modyfikacje właściwości pod kątem potrzeb konkretnego projektu.

Średnica studzienki
Już pierwsze problemy wiążą się z określeniem średnicy studzienki mającej podstawowe znaczenie w aspekcie eksploatacji. Niektóre ze studzienek mają stałą średnicę równą średnicy rury trzonowej, inne zredukowaną z powodu wprowadzenia teleskopu (rys. 2). Ogólnie studzienki rewizyjne dzielą się na:
1. Włazowe o wymiarach umożliwiających wchodzenie personelu do środka:
– studzienka, w której przeprowadzane są wszystkie prace konserwacyjne (pełnowymiarowa):
- kołowa D co najmniej 1000 mm,
- o przekroju prostokątnym minimum 750×1200 mm,
- o przekroju kwadratowym minimum 1000×1000 mm,
- o przekroju eliptycznym minimum 900×1000 mm;
– studzienka do wprowadzania wyposażenia czyszczącego i kontrolnego, z wyjątkową możliwością wejścia człowieka:
- kołowa D co najmniej 800 mm,
- prostokątna minimum 750×1000 mm,
- kwadratowa minimum 800×800 mm,
- eliptyczna minimum 800×1000 mm.
2. Niewłazowe o wymiarach uniemożliwiających personelowi wejście do środka (inspekcyjne), o średnicy D mniejszej niż 800 mm.
Minimalna wielkość średnicy nie jest określana, przy czym aktualny pozostaje problem określenia rzeczywistej minimalnej średnicy przy zwieńczeniu osadzonym teleskopowo. Próby regulacji w tym zakresie (np. [18]) są mocno problematyczne, średnica rzeczywista (minimalny prześwit) ma decydujące znaczenie w aspekcie eksploatacji (wprowadzanie sprzętu do eksploatacji z poziomu ulicy w szczególności kamer i węży ciśnieniowych do płukania) i bardziej doświadczeni eksploatatorzy wskazują własne wymagania (z trudem akceptowana jest np. D2 = 400 mm).
Oczywiście w przypadku studzienek pełnowymiarowych (D1 > 1000 mm) problem przewężenia nie ma znaczenia, jednak przy mniejszych wymiarach może mieć on znaczenie rozstrzygające. Nie oznacza to, że eksploatacja nie jest niemożliwa, ale decyzja zakupu musi być przez inwestora podjęta świadomie. W tej sytuacji rozstrzygające znaczenie powinna mieć najmniejsza wartość, tj. D2, może być też użyty podwójny zapis: D1/D2. W poszczególnych przypadkach producenci ograniczają się do podania wartości D1, co trudno traktować jako rzetelną praktykę (por. [10]).

Rys. 4. Zasada montażu pierścienia odciążającego
Zróżnicowanie cech wytrzymałościowych studzienek z termoplastów
Norma PN-EN 13598 sankcjonuje istnienie poważnych różnic między studzienkami oraz jednoznacznie określa głębokość ich instalowania do 6 m. Niektórzy producenci dopuszczają większe głębokości, pod warunkiem uzgodnienia warunków posadowienia z ich biurem konstrukcyjnym3. Z tego powodu studzienki muszą być odpowiednio cechowane, przy czym stosowane są dwa poziomy czytelności kodowania:
- trwałe w trakcie użytkowania,
- czytelne co najmniej do chwili zainstalowania systemu.
Cechowanie powinno być wykonane przez:
- nadrukowanie lub odciśnięcie bezpośrednio na elemencie,
- umieszczenie na etykiecie w taki sposób, aby pozostało czytelne po magazynowaniu, transporcie i zainstalowaniu.
Zasadę cechowania pokazano na rys. 3. W przypadku jego braku i równoczesnej deklaracji producenta, że studzienka spełnia wymagania normy PN-EN 13598 [12], przyjmuje się, że maksymalna głębokość instalacji studzienki wynosi 6 m, natomiast maksymalna głębokość wód gruntowych powyżej dna kanału przelotowego studzienki jest równa 2 m. Od razu należy zaznaczyć, że wszystkie obecnie stosowane połączenia są wodoszczelne, a cechowanie określa maksymalne wzniesienie wody. Równocześnie nie oznacza to, że studzienka może być posadowiona bez dodatkowego obciążnika, gdyż jedynie wybrane konstrukcje tolerują posadowienie bez dodatkowego dociążenia. Zawsze w razie wątpliwości należy skonsultować się z odpowiednim doradcą technicznym względnie biurem konstrukcyjnym producenta.
Kwestia wytrzymałości wymaga szczególnej uwagi, ponieważ nawet fizyczne podobieństwo poszczególnych konstrukcji będących w ofercie tego samego producenta nie stanowi podstawy do przypisania im analogicznych cech wytrzymałościowych.
Jeszcze większe problemy wiążą się z różnego rodzaju zbiornikami powstającymi na bazie rur. Wytrzymałość takiego zbiornika może być znacznie niższa od wytrzymałości podstawowej rury i bezwzględnie konieczne jest przestrzeganie wymagań producenta co do maksymalnej miąższości warstwy naziomu.
Dodatkowe problemy mogą wynikać z jednostek, w jakich wyrażana jest wytrzymałość. W ostatnim czasie pojawiła się dokumentacja, w której zamiast standardowych kiloniutonów użyto niutony – może dlatego, że 6000 wygląda dumniej niż 6.
Oddzielnym zagadnieniem pozostaje odporność na działanie ekspansywnego podłoża. Wprawdzie w ostatnich latach z rynku wyrobów z tworzyw dla kanalizacji zniknęły konstrukcje, z którymi wiązało się najwięcej problemów, jednak może to być sytuacja przejściowa. Szczególnej ostrożności w tym aspekcie wymagają konstrukcje segmentowe cienkościenne usztywniane ożebrowaniem pionowym i poziomym pozbawione trwałych połączeń. Kwestia wodoszczelności jest tu drugorzędna, poza ewidentnymi błędami wykonawstwa trudno obecnie znaleźć rozwiązania niewodoszczelne. Chodzi o to, aby konstrukcja nie mogła się otworzyć bez podjęcia specjalnych działań, a więc o połączenia zgrzewane, skręcane czy też klejone.
Jako podejrzane w aspekcie posadowienia w nawodnionym podłożu należy traktować studzienki z kinetami wytłaczanymi. W przypadku braku dodatkowego zabezpieczenia są one podatne na zgniatanie i ściskanie.

Rys. 5. Zasada montażu uszczelki międzykręgowej
Studzienki z duroplastów
Podobnie jak w przypadku innych wyrobów z homogenicznego GRP (ang. Glass-Reinforced Plastic) studzienki, zbiorniki i podobne wyroby mogą być dostosowane do potrzeb konkretnego projektu. Istnieje również możliwość uzyskiwania przez nie wymaganych charakterystyk wytrzymałościowych. Przykładowo w ramach projektu warszawskiej kanalizacji zastosowano studzienki o dwóch kominach złazowych, często posadawiane na głębokościach kilkunastu metrów, a wyroby z GRP stosowane są pod pasami startowymi lotnisk (a więc w warunkach występowania szczególnie wysokich obciążeń). W znanych mi przypadkach przyczynami awarii było niewłaściwe postępowanie na placu budowy, względnie brak w zamówieniu określenia warunków wytrzymałościowych, w jakich będą pracować studzienki. Jeśli np. nie poda się informacji, że ponad przewodami ułożonymi poza jezdnią będzie przemieszczać się ciężki sprzęt budowlany powodujący duże obciążenia [6], zostaną dostarczone standardowe rury, nieprzystosowane do takich warunków pracy.

Rys. 6. Doszczelnienie przestrzeni międzykręgowej w warunkach szczególnie nawodnionego podłoża
Studzienki betonowe
Standardowe studzienki betonowe spełniające warunki normy PN-EN 1917 [10] z betonu zgodnego z normą PN-EN 206 [9] posiadają wystarczającą wytrzymałość dla standardowych warunków montażu [1], [4], mogą jednak stwarzać problemy związane z wykonawstwem [16]. W szczególności związane jest to z:
- nadal dość dużą popularnością starej wycofanej normy krajowej [8], która nie odpowiada obecnym warunkom;
- dość lekceważącym traktowaniem kwestii jakości betonu4, zamawianiem wyrobów substandardowych;
- niewłaściwym postępowaniem w trakcie transportu oraz na placu budowy5;
- nieprzestrzeganiem wymagań w zakresie montażu;
- dopuszczeniem do sytuacji, gdy tolerowane są prace ostatecznie skutkujące obniżeniem jakości oraz przyspieszonymi awariami.
Bardzo często przyszłe awarie prowokowane są przez nieodpowiednie wykonanie przyłączeń rurociągów do studzienek, komór czy też zbiorników różnego przeznaczenia. Jest to zagadnienie ogólne, niezależne od konkretnych rozwiązań materiałowych, przy czym nadrzędne znaczenie odgrywa eliminacja naprężeń powstających na skutek nierównomiernego osiadania. Zagadnieniu temu poświęcona jest specjalna norma PN-ENV 1046 [13], formalnie odnosząca się do tworzyw sztucznych, mająca jednak uniwersalny charakter.
Do dość szczególnych problemów betonowych studzienek rewizyjnych montowanych w pasie drogowym6 należy stosowanie żelbetowego pierścienia7 odciążającego. Wielokrotnie zwraca się uwagę na szybsze osiadanie strefy przylegającej do studzienki niż do jezdni, co można tłumaczyć brakiem zachowania wymagań co do zasypu wykopów i w efekcie nierównomiernym osiadaniem w stosunku do korpusu studzienki. Zgodnie z zaleceniami Stowarzyszenia Producentów Elementów Betonowych dla Kanalizacji do zasypywania wykopów przystępuje się po zakończeniu montażu oraz po odbiorze technicznym. W szczególności trzeba przestrzegać następujących zasad:
- zasyp należy prowadzić równomiernie układanymi warstwami o grubości do 30 cm,
- pierwszą warstwę doprowadzić do wysokości spodu rur przyłączeniowych,
- poszczególne warstwy zagęszczać aż do uzyskania wymaganego wskaźnika zagęszczenia,
- do wysokości całkowitego przykrycia rur przyłączeniowych wykop zasypywać warstwami piasku lub pospółki,
- w przypadku zasypu pospółką między nią a elementami konstrukcyjnymi wprowadzić warstwę piasku,
- zachować szczególną ostrożność przy zasypie w obszarze rur przyłączeniowych,
- przy zasypie i zagęszczaniu unikać nierównomiernego nacisku na ścianki elementów studzienki,
- przy studzienkach wyposażonych w komin włazowy zasypywanie wykopu w obrębie komina wykonywać dopiero po całkowitym zasypaniu i zagęszczeniu na całej wysokości komory roboczej oraz nałożeniu warstwy gruntu o grubości min. 30 cm nad płytą redukcyjną.
Podane rozwiązanie jest z trudem akceptowane dla studzienek z tworzyw, natomiast praktyka dla konstrukcji betonowych jest zupełnie inna. Zasypka prowadzona jest najwyżej w dwóch, niekiedy trzech, fazach. Równocześnie zagęszczenie zasypu przy sztywnych ścianach betonowych jest mniej skuteczne niż w przypadku elastycznych ścian konstrukcji z tworzyw lepiej współpracujących z podłożem. W efekcie pierścień odciążający styka się z mniej zagęszczonym podłożem w stosunku do naturalnego i osiada szybciej w stosunku do korpusu obiektu, czego efektem są charakterystyczne zaniżenia nawierzchni w sąsiedztwie studzienki. W skrajnych przypadkach, ulegając przekrzywieniu, może doprowadzić do uszkodzenia korpusu. Wiele niedomówień wiąże się z uszczelnianiem połączeń między kręgami (rys. 5). Rozwiązaniem skutecznym są uszczelki elastomerowe (w przypadku szczególnie agresywnych cieczy – odpowiednie odmiany) wymagające odpowiedniego smarowania. Montaż bez uszczelki jest możliwy, jednak wymaga użycia specjalnych mas. Zaprawy betonowe dopuszczone przez niektórych producentów bez dodatkowych zastrzeżeń prowadzą do utraty szczelności. Podobnie niedopuszczalne jest użycie elementów murowanych. Natomiast guma jest trudna do osadzenia na budowie i często zbyt twarda, aby możliwe się stało skuteczne zwarcie konstrukcji pod wpływem masy górnego kręgu.
Pozornie ciężkie konstrukcje betonowe są bezpieczne w nawodnionym podłożu gruntowym, jednak w sytuacji nawodnienia sięgającego 80-90% następuje redukcja masy kręgów w stopniu uniemożliwiającym skuteczne zwarcie uszczelnienia. Wtedy można stosować systemowe doszczelnienie (rys. 6) specjalnymi masami, od strony podłoża gruntowego spoina jest chroniona specjalnym plastrem.
Podsumowanie
Na polskim rynku pojawiła się konkurencyjna w stosunku do tradycyjnych rozwiązań materiałowych oferta wyrobów, jednak dotychczasowe doświadczenia wskazują, że nadal istnieją dość duże braki znajomości ich szczególnych wymagań. Stan techniczny wielu obiektów o tradycyjnych konstrukcjach wskazuje na to, że także tu występowały i występują istotne błędy realizacji.
Zagadnieniem podstawowym pozostają błędy związane z posadowieniem obiektów, w szczególności na skutek niewłaściwego rozpoznania warunków gruntowych oraz potrzeby dostosowania do nich przyjmowanego rozwiązania konstrukcyjnego. Do jakiegoś stopnia są to konsekwencje niejednoznacznego systemu normalizacyjnego oraz nadal częstego posługiwania się przestarzałymi normami, w tym [8]. Trzeba pamiętać, że każda rzecz w pewnej chwili po prostu się starzeje i traci swoją aktualność – np. to, że kilkanaście lat temu opracowania typu warunki TIN [18] uzyskały zalecenie do stosowania przez właściwego ministra, oznacza, że reprezentują one określony poziom wiedzy i techniki z okresu swojego powstania. Biorąc pod uwagę realia procedur przetargowych, na szczególną uwagę zasługuje dokumentacja fazy projektu koncepcyjnego i opracowana na jej podstawie specyfikacja istotnych warunków zamówienia. Ich prawidłowe przygotowanie pozwala z jednej strony wyeliminować nieodpowiednie wyroby, z drugiej zaś ograniczyć ewentualne protesty oferentów niezapewniających odpowiedniej jakości.
prof. Ziemowit Suligowski
Politechnika Gdańska
Uwaga: artykuł ukazał się w nr. 10/2017 „Wiadomości Projektanta Budownictwa” – miesięcznika Izby Projektowania Budowlanego.
Bibliografia
- S.H. Pfeiff, Bau und Betrieb der Kanalisation, ATV Handbuch, Ernst und Sohn Verlag, Berlin 1995.
- BN-62/6378/03 i 07 Beton hydrotechniczny.
- BN-78/6736-02 Beton towarowy.
- F. Adamczyk, Entwurf und Bau von Kanalisationen und Abwasser-pumpwerken ATV Handbuch, Ernst und Sohn Verlag, Munchen 1982.
- A. Gorączko, Fundamenty na gruntach ekspansywnych, „Inżynier Budownictwa” nr 1/2017.
- Niemiecki Zbiór Reguł ATV – DVWK. Wytyczna A127 P: Obliczenia statyczno-wytrzymałościowe kanałów i przewodów kanalizacyjnych. ATV – DVWK Hennef (edycja polskojęzyczna Wyd. Seidel – Przywecki, Warszawa 2000).
- PN-B-06250 Beton zwykły.
- PN-B 10729 Kanalizacja. Studzienki rewizyjne.
- PN-EN 206 Beton. Część 1: Wymagania, właściwości, produkcja i zgodność.
- PN-EN 1917 Studzienki włazowe i niewłazowe z betonu niezbrojonego, z betonu zbrojonego włóknem stalowym i żelbetowe.
- PN-EN 1997-1 Eurokod 7 Projektowanie geotechniczne. Część 1: Zasady ogólne i PN-EN 1997-2 Eurokod 7 Projektowanie geotechniczne. Część 2: Rozpoznanie i badanie podłoża gruntowego.
- PN-EN 13598 Systemy przewodów rurowych z tworzyw sztucznych do podziemnej bezciśnieniowej kanalizacji deszczowej i sanitarnej. Nieplastyfikowany polichlorek winylu (PVCU), polipropylen (PP) i polietylen (PE). Część 1: Specyfikacje kształtek pomocniczych wraz z płytkimi studzienkami inspekcyjnymi. Część 2: Specyfikacje studzienek włazowych i niewłazowych instalowanych w obszarze ruchu kołowego głęboko pod ziemią.
- PN-ENV 1046 Systemy z tworzyw sztucznych. Systemy do przesyłania wody i ścieków na zewnątrz konstrukcji budowli. Praktyczne zalecenia układania przewodów pod ziemią i nad ziemią.
- Rozporządzenie Ministra Spraw Wewnętrznych i Administracji z dnia 24 czerwca 1998 r. w sprawie ustalania geotechnicznych warunków posadawiania obiektów budowlanych (Dz.U. z 1998 r. Nr 126).
- Rozporządzenie Ministra Transportu, Budownictwa i Gospodarki Morskiej z dnia 25 kwietnia 2012 r. w sprawie ustalania geotechnicznych warunków posadawiania obiektów budowlanych (Dz.U. z 2012 r. poz. 463).
- Z. Suligowski, S. Fudala-Książek, Wykonanie i odbiór sieci kanalizacyjnych, Wyd. Seidel – Przywecki, Warszawa 2016.
- Ustawa z dnia 7 lipca 1994 r. – Prawo budowlane (Dz.U. z 1994 r. Nr 89 z późn. zm.). Uaktualniany tekst jednolity (ostatnia wersja z dnia 8 lipca 2015 r.) dostępny na stronach internetowych Kancelarii Sejmu RP.
- Wymagania Techniczne TIN COBRTI INSTAL zeszyt 9, Warunki techniczne wykonania i odbioru sieci kanalizacyjnych, Warszawa 2003.
1 W przedmiotowym zakresie [11].
2 W znanej mi sytuacji postępowanie przeprowadzono pomyślnie, ale decydującą rolę odegrały doświadczenia zawodowe wykonawcy, który istotnie wspomógł projektanta. Jednak w przypadku innej inwestycji projektant nie potrafił właściwie wykorzystać bardzo starannie przygotowanej dokumentacji geotechnicznej. Biorąc pod uwagę mniej lub bardziej spektakularne sytuacje pewien, pesymizm [5] jest w pełni zrozumiały.
3 Obecnie odnosi się to tylko do jednej, może dwóch, konstrukcji dostępnych na rynku.
4 Nie jest przypadkiem, że PKN aż dwukrotnie powtórzył informację o wycofaniu starych norm w zakresie betonu: [2], [3], [7], które nadal jednak w jakimś stopniu funkcjonują w świadomości.
5 Szczegółowe zasady w tym zakresie zawierają m.in. materiały poszczególnych producentów wyrobów oraz Stowarzyszenia Producentów Elementów Betonowych dla Kanalizacji.
6 Niezależnie od różnych polskich regulacji prawnych naturalnym położeniem kanalizacji na obszarze zabudowanym pozostaje oś jezdni.
7 Według starszej nomenklatury – płyty.




