W ostatnich latach nastąpiły istotne zmiany w zapisach wieloarkuszowej normy 60364 dotyczącej instalacji elektrycznych nn.

© marcus_hofmann – stock.adobe.com
Jednym z problemów, z jakim się spotykają projektanci instalacji elektrycznych, jest pytanie, kiedy należy zaprojektować kolejny stopień ochrony przepięciowej. Jest to ważne w rozbudowanych instalacjach elektrycznych nowoczesnych wielokondygnacyjnych budynków mieszkalno-biurowych lub w przypadku obiektów przemysłowych. Ustanowione nowe edycje norm z zakresu ochrony odgromowej oraz instalacji elektrycznych prezentują analogiczne podejście, ograniczając skuteczną odległość działania ochrony przepięciowej (SPD) do ok. 10 m. Zwiększenie tej odległości jest możliwe, jednak pod warunkiem spełnienia wielu wymagań w zakresie napięciowego poziomu ochrony SPD oraz odporności udarowej chronionego urządzenia. W niektórych przypadkach wymagana jest również analiza zagrożenia przepięciami indukowanymi.
Zagrożenie przepięciowe urządzeń elektrycznych
Projektując system ochrony przepięciowej w instalacji elektrycznej budynku, musimy uwzględnić kilka czynników, takich jak:
- ochrona odgromowa obiektu – czy obiekt posiada urządzenie piorunochronne i jakiej klasy;
- przebieg instalacji w budynku (pętle indukcyjne, zbliżenia do elementów LPS);
- poziomy odporności udarowej podlegających ochronie urządzeń:
- koordynacja energetyczna między poszczególnymi SPD w przypadku stosowania wielostopniowej ochrony;
- ocena występującego zagrożenia (przepięcia atmosferyczne, łączeniowe).
Powyższe czynniki ujmowane są zazwyczaj w ramach projektów LPS (ang. Lightning Protection System), gdzie mamy obowiązek wykonania piorunowych połączeń wyrównawczych dla wszystkich linii wchodzących do budynku (zabudowa SPD w skrzynce przyłącza lub rozdzielnicy głównej).
Często jednak pojawia się pytanie: Co dalej? Projektant instalacji elektrycznej staje przed pytaniem o dopuszczalne odległości (tzw. odległości ochronne) między SPD a chronionym urządzeniem. Kiedy należy zastosować kolejny stopień ochrony – jaki zastosować SPD – typu 2 czy może typu 3? Jest to również związane z kosztami inwestycji, gdyż często inwestor pragnie obniżyć wszelkie dodatkowe koszty, nawet za cenę skuteczności ochrony.
Wcześniej problem doboru odległości ochronnych nie był praktycznie uwzględniany przy projektowaniu systemu ograniczania przepięć w instalacji elektrycznej. W nowej edycji norm z zakresu ochrony odgromowej oraz instalacji elektrycznych podjęto próbę ujednolicenia wymagań dotyczących tego zagadnienia.
Na zagrożenie związane ze zbyt dużą odległością chronionego urządzenia od ogranicznika przepięć zwracał już uwagę [1] w referacie na konferencji w 2011 r.
Polecamy też: Wybrane problemy ochrony przed porażeniami w stacjach SN/nn zasilających sieci w układzie TN – cz. I

Rys. 1. Wzajemne rozmieszczenie ogranicznika przepięć i chronionego urządzenia
W przypadku stosowania długich przewodów (instalacja elektryczna między SPD typu 2 w rozdzielnicy a wejściem chronionego urządzenia o charakterze pojemnościowym – rys. 1) mogą wystąpić dodatkowe oscylacje napięcia. Jest to o tyle ważne, że praktycznie wszystkie urządzenia elektroniczne stanowią elementy o charakterze pojemnościowym. Badania zaprezentowane w referacie [1] pokazały, że amplitudy przepięć na wejściu urządzenia dochodziły do podwojonej wartości napięcia panującego na warystorze ogranicznika przepięć typu 2. W niekorzystnym przypadku na skutek oscylacji może nastąpić uszkodzenie urządzenia pomimo zastosowania SPD w rozdzielnicy oraz zapewnienia warunku:
UP ≤ Uw
gdzie: UP – napięciowy poziom ochrony zapewniany przez SPD; Uw – poziom odporności udarowej chronionego urządzenia.
W nowych edycjach norm uwzględniono możliwość wystąpienia oscylacji w instalacji elektrycznej i wprowadzono pojęcie odległości ochronnej. Jest to maksymalna odległość między układem SPD a chronionym urządzeniem (liczona wzdłuż przewodu), przy której zapewniona jest jeszcze ochrona przyłącza zasilania tego urządzenia. Ważne jest w tym przypadku to, że zaproponowana odległość jest identyczna w przypadku norm opracowywanych przez różne komitety techniczne.
Wymagania normatywne w zakresie odległości ochronnej
Wymagania stosowania środków zawarte zostały w rozporządzeniu [2]. Instalacja i urządzenia elektryczne, przy zachowaniu wymagań Polskich Norm odnoszących się do tych instalacji i urządzeń, powinny zapewniać ochronę przed przepięciami łączeniowymi i atmosferycznymi. W załączniku Z1 do rozporządzenia [2] przywołane zostały Polskie Normy, których zastosowanie pozwala na spełnienie wymagań zawartych w akcie prawnym.
W przypadku budynków wyposażonych w urządzenie piorunochronne informacje o doborze i stosowaniu ograniczników przepięć, chroniących przed udarami powodowanymi przez przepięcia atmosferyczne, podano w PN-EN 62305-4 [3]. Zgodnie z zapisami normy miejsce montażu SPD powinno uwzględniać wpływ określonego źródła uszkodzeń (wyładowania piorunowe w obiekt, w linię lub w ich pobliżu) oraz możliwości odprowadzenia prądu udarowego do ziemi (możliwie najbliżej punktu wejścia linii do obiektu).
Niższy poziom zagrożenia udarowego, a tym samym większe bezpieczeństwo dla urządzeń zapewnia stosowanie skoordynowanego układu SPD. Jednak niektóre urządzenia mogą zawierać wewnętrzne SPD, których właściwości mogą wpływać na wymagania koordynacyjne. W budynkach z nieskoordynowanymi SPD jest możliwe wystąpienie uszkodzeń wewnętrznych urządzeń, jeżeli SPD od strony odbiorów lub SPD w obrębie urządzenia przeszkodzi prawidłowemu działaniu SPD na wejściu linii do obiektu.
Czytaj też: Systemy zasilania rezerwowego – cz. I
Zgodnie z załącznikiem C do PN-EN 62305-4 przyjmuje się, że urządzenie jest chronione zainstalowanym przed nim ogranicznikiem przepięć, jeżeli zapewniona jest odpowiednia zależność między poziomem ochrony zapewnianym przez SPD i poziomem wytrzymałości udarowej urządzenia dla przedstawionych niżej przypadków związanych ze wzajemnym rozmieszczeniem ogranicznika przepięć i chronionego urządzenia:
- Długość obwodu między SPD i chronionym urządzeniem jest pomijalna (SPD zainstalowany jest przy zaciskach urządzenia).
- Długość obwodu między SPD i chronionym urządzeniem L < 10 m (SPD zainstalowany został w piętrowej tablicy rozdzielczej albo przy gniazdku wtyczkowym), wtedy rzeczywisty poziom ochrony musi zapewniać warunek: UP/F ≤ 0,8 Uw
- Długość obwodu między SPD i chronionym urządzeniem L > 10 m (SPD zainstalowany na wejściu linii do obiektu lub głównej/piętrowej tablicy rozdzielczej), konieczne jest wówczas uwzględnienie wpływu przepięć indukowanych Ui i wtedy rzeczywisty poziom ochrony musi zapewniać warunek: UP/F ≤ (Uw – Ui)/2
W przypadku normy dotyczącej doboru i montażu SPD w instalacji elektrycznych nn nowa edycja arkusza PN-HD 60364-5-534 nawiązuje do aktualnych zapisów zawartych w załączniku C do normy PN-EN 62305-4. W akapicie dotyczącym skutecznej odległości ochronnej zapewnianej przez SPD przyjęto, że ochrona przepięciowa jest skuteczna, jeżeli odległość między SPD a chronionym urządzeniem jest nie większa niż 10 m. Jeżeli odległość między SPD a chronionym urządzeniem jest większa niż 10 m, należy zastosować, np.:
- dodatkowy ogranicznik przepięć, zainstalowany w bezpośredniej bliskości chronionego urządzenia, którego napięciowy poziom ochrony UP jest mniejszy od znamionowego napięcia udarowego UW chronionego urządzenia;
- dodatkowe środki ochrony w złączu instalacji lub w jego pobliżu; SPD o niższym napięciowym poziomie ochrony UP wraz z innymi środkami ochrony (np. ekranowane oprzewodowanie we wszystkich chronionych obwodach).
Podobne zapisy występują w przypadku normy instalacyjnej PN-HD 60364-7-712 zawierającej wymagania dotyczące fotowoltaicznych (PV) układów zasilania.
W instalacji elektrycznej dla części AC (instalacji elektrycznej niskiego napięcia), gdzie wymagane jest zastosowanie SPD, a falownik znajduje się w odległości większej niż 10 m od złącza instalacji, należy oprócz SPD znajdującego się w złączu instalacji dodatkowo zainstalować SPD w pobliżu falownika.
W instalacji DC (generatora fotowoltaicznego) ograniczniki przepięć powinny się znajdować jak najbliżej falownika.
W przypadku gdy odległość między wejściem kabla DC do budynku a falownikiem jest większa niż 10 m, mogą być wymagane dodatkowe SPD, poza falownikiem.
W rozległych instalacjach elektrycznych występuje zagrożenie wystąpienia przepięć wewnętrznych między przewodami fazowymi oraz między przewodami fazowymi a przewodem neutralnym. W takim przypadku przepięcia pojawiające się na wejściu urządzenia mogą osiągnąć wartości szczytowe przekraczające jego wytrzymałość napięciową UW.
Zgodnie z normą [3] rozwiązaniem zapewniającym ograniczanie przepięć jest zastosowania układu skoordynowanych ze sobą SPD – w tym też typu 3 bezpośrednio przed chronionym urządzeniem (rys. 2).

Rys. 2. Koordynacja energetyczna ochrony przepięciowej zgodnie z normą [3]
Przeczytaj także: Rozdzielnice elektryczne i skrzynki telekomunikacyjne we współczesnym mieszkaniu
Laboratoryjne pomiary napięć
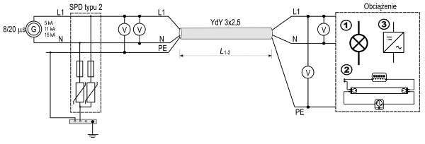
Celem weryfikacji maksymalnego zalecanego odstępu 10 m pomiędzy SPD a chronionym urządzeniem, który to odstęp zapewnia skuteczną ochronę przeprowadzono pomiary laboratoryjne. Do tego celu wykorzystano wysokonapięciowy generator prądów udarowych. Weryfikację zalecanego odstępu przeprowadzono dla trzech różnych wartości prądu udarowego 8/20 µs 5 kA, 11 kA, 15 kA oraz dla trzech różnych rodzajów obciążeń układu:
1) żarówka (R),
2) świetlówka (RL),
3) zasilacz impulsowy od komputera przenośnego (RC).
Schemat układu pomiarowego zamieszczono na rys. 3.

Rys. 3. Schemat układu pomiarowego do badania skuteczności ochrony przeciwprzepięciowej dla trzech różnych rodzajów obciążeń
Zarejestrowane przebiegi napięć na wejściu poszczególnych rodzajów obciążeń zestawiono na rysunkach 4–12. Napięcia panujące bezpośrednio na zaciskach SPD typu 2 przedstawiono na rysunkach 13-21. Wraz ze wzrostem prądu generatora obserwowany jest wzrost napięcia na wejściu (UL1-N) wszystkich rodzajów obciążenia. W przypadku zasilacza impulsowego do laptopa obserwowane są wysokoczęstotliwościowe oscylacje zbocza narastającego napięcia. Przy prądzie na poziomie 15 kA wartość szczytowa napięcia osiąga wartość 1600 V (rys. 7). W tym samym momencie na SPD chroniącym świetlówkę panuje 1275 V (rys. 15). Obserwowany wzrost napięcia o 325 V na odcinku 10 metrów przewodu przekracza założony napięciowy poziom ochrony wynoszący 1500 V. Podobne zjawisko choć w mniejszej skali obserwowane jest dla obciążenia w postaci świetlówki (rys. 6 i 14).

Rys. 4. Napięcie UL1-N na wejściu żarówki (1) dla prądu generatora 5kA (a), 11kA (b), 15kA(c) – 300 V/div, 20µs/div

Rys. 5. Napięcie UL1-N na wejściu świetlówki (2) dla prądu generatora 5kA (a), 11kA (b), 15kA(c)
Czytaj też: Instalacje uziemiające – zalecenia norm, cz. I

Rys. 6. Napięcie UL1-N na wejściu zasilacza impulsowego (3) dla prądu generatora 5kA (a), 11kA (b), 15kA (c)

Rys. 7. Napięcie UL1-PE na wejściu żarówki (1) dla prądu generatora 5kA (a), 11kA (b), 15kA(c)

Rys. 8. Napięcie UL1-PE na wejściu świetlówki (2) dla prądu generatora 5kA (a), 11kA (b), 15kA(c)

Rys. 9. Napięcie UL1-PE na wejściu zasilacza impulsowego (3) dla prądu generatora 5kA (a), 11kA (b), 15kA (c)

Rys. 10. Napięcie UN-PE na wejściu żarówki (1) dla prądu generatora 5kA (a), 11kA (b), 15kA(c)

Rys. 11. Napięcie UN-PE na wejściu świetlówki (2) dla prądu generatora 5kA (a), 11kA (b), 15kA(c)

Rys. 12. Napięcie UN-PE na wejściu zasilacza impulsowego (3) dla prądu generatora 5kA (a), 11kA (b), 15kA (c)

Rys. 13. Napięcie UL1-N na SPD żarówki (1) przy prądzie generatora 5kA (a), 11kA (b), 15kA (c)

Rys. 14. Napięcie UL1-N na SPD świetlówki (2) przy prądzie generatora 5kA (a), 11kA (b), 15kA (c)

Rys. 15. Napięcie UL1-N na SPD zasilacza impulsowego (3) przy prądzie generatora 5kA (a), 11kA (b), 15kA (c)

Rys. 16. Napięcie UL1-PE na SPD żarówki (1) przy prądzie generatora 5kA (a), 11kA (b), 15kA (c)

Rys. 17. Napięcie UL1-PE na SPD świetlówki (2) przy prądzie generatora 5kA (a), 11kA (b), 15kA (c)

Rys. 18. Napięcie UL1-PE na SPD zasilacza impulsowego (3) przy prądzie generatora 5kA (a), 11kA (b), 15kA (c)

Rys. 19. Napięcie UN-PE na SPD żarówki (1) przy prądzie generatora 5kA (a), 11kA (b), 15kA (c)

Rys. 20. Napięcie UN-PE na SPD świetlówki (2) przy prądzie generatora 5kA (a), 11kA (b), 15kA (c)

Rys. 21. Napięcie UN-PE na SPD zasilacza impulsowego (3) przy prądzie generatora 5kA (a), 11kA (b), 15kA (c)
Wnioski
Przedstawione w normach informacje dotyczące wymagań w zakresie odległości ochronnych między układami SPD a obwodami wejściowymi chronionych urządzeń pozwalają zmniejszyć zagrożenie przepięciowe urządzeń oraz uprościć zasady doboru ograniczników przepięć w instalacjach elektrycznych. Szczególnie ważne jest osiągnięcie porozumienia przez poszczególne komitety techniczne IEC oraz CENELEC w zakresie ujednolicenia wymagań i przyjęcie jednej wartości granicznej odległości ochronnej wynoszącej 10 m. Przeprowadzone badania laboratoryjne potwierdzają konieczność stosowania dodatkowej ochrony przeciwprzepięciowej w omawianym przypadku.
mgr inż. Krzysztof Wincencik
DEHN Polska mgr inż. Jarosław Wiater
Politechnika Białostocka
Uwaga: artykuł oparty jest na referacie prezentowanym na VII Krajowej Konferencji Naukowo-Technicznej „Inżynieria elektryczna w budownictwie”, zorganizowanej 25 października 2018 r. przez Stowarzyszenie Elektryków Polskich – Oddział Krakowski.
Literatura
- A.W. Sowa, Odległości pomiędzy urządzeniami do ograniczania przepięć a chronionym urządzeniem, materiały VI Krajowej Konferencji Naukowo-Technicznej „Urządzenia piorunochronne w projektowaniu i budowie”, Kraków 2011.
- Rozporządzenie Ministra Infrastruktury z dnia 12 kwietnia 2002 r. w sprawie warunków technicznych, jakim powinny odpowiadać budynki i ich usytuowanie (Dz.U. z 2015 r. poz. 1422 i z 2017 r. poz. 2285).
- PN-EN 62305-4:2011 Ochrona odgromowa. Część 4: Urządzenia elektryczne i elektroniczne w obiektach.
- PN-HD 60364-5-534:2016 Instalacje elektryczne niskiego napięcia. Część 5-534: Dobór i montaż wyposażenia elektrycznego. Odłączanie izolacyjne, łączenie i sterowanie. Urządzenia do ochrony przed przejściowymi przepięciami.




